@ray 老师,10.16课程LLM模型部署,问题:chatnext 和 LLM server互动Issue #225
Labels
No Label
bug
duplicate
enhancement
help wanted
invalid
question
wontfix
No Milestone
No project
No Assignees
2 Participants
Notifications
Due Date
No due date set.
Dependencies
No dependencies set.
Reference: HswOAuth/llm_course#225
Loading…
Reference in New Issue
Block a user
No description provided.
Delete Branch "%!s()"
Deleting a branch is permanent. Although the deleted branch may continue to exist for a short time before it actually gets removed, it CANNOT be undone in most cases. Continue?
hi,ray老师:
,敲入:hello,你是谁;但是回答有问题,如图2--
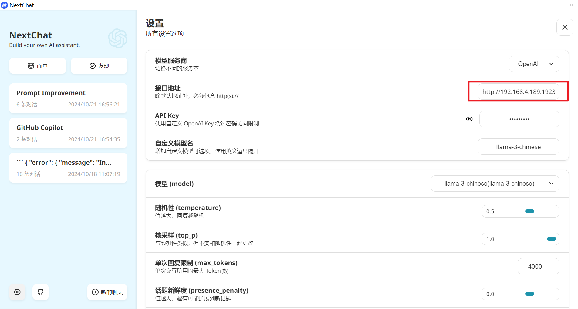
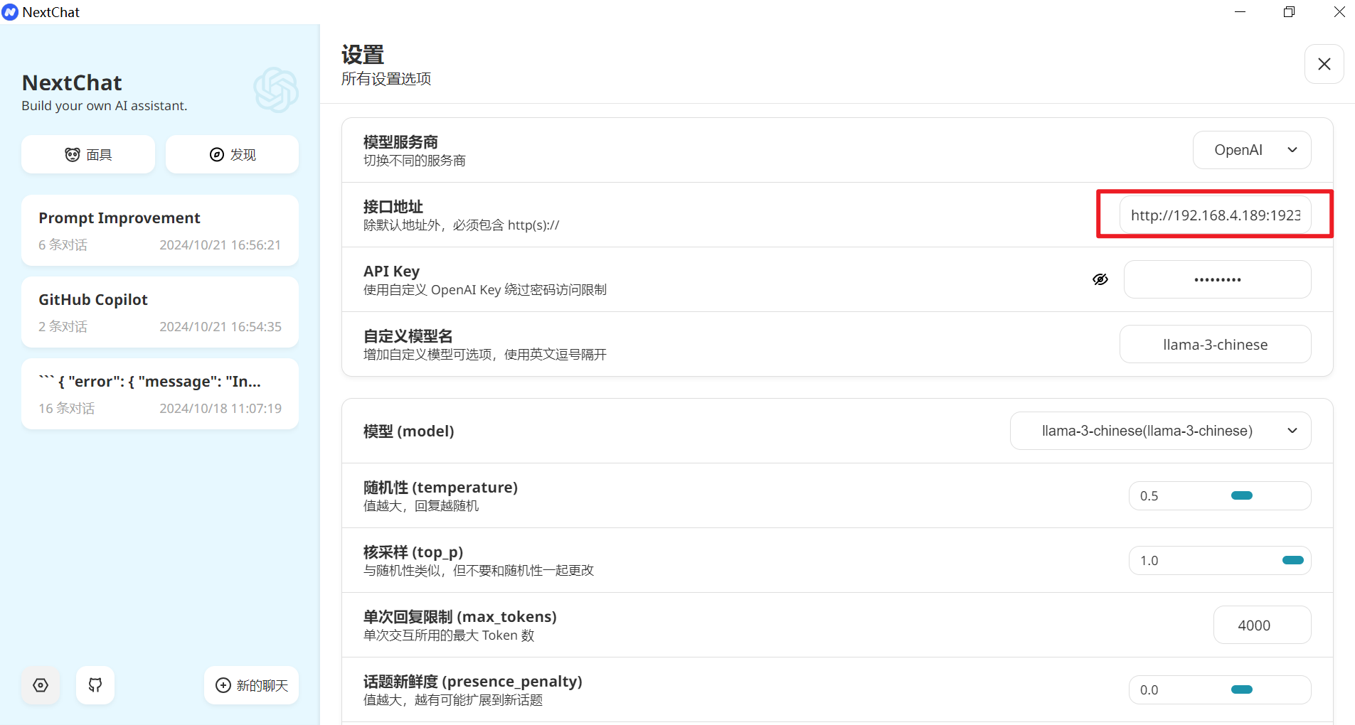
,另外Nextchat设置如图3--
目前,llam-3-chinese的服务端已部署并启动,打开客户端的Nextchat,按照讲义设置好参数,如图1--
hi,同学你好呀,我想知道你的实验是在服务器上做的还是在本地做的呢?

从这张图片上看应该是在远程服务器上做的吧?
可以看到ip地址应该是192.168.4.189。
所以在NextChat配置中的接口地址也要做对应修改喔,应该是ip地址+端口。

你这里设置的127.0.0.1是本机ip,使用本地ip的情况是在本机部署模型。如果是在远程服务器中部署模型的话,ip就要修改成对应的服务器ip喔~
重新修改NextChat中服务器地址:

,但是服务调动仍旧失败